| 索 引 号: | 11222424013619996K/2023-03377 |
| 分 类: | 行政处罚;行政法规、规章 ; 公告 |
| 发文机关: | 汪清县交通运输局 |
| 成文日期: | 2023年04月10日 |
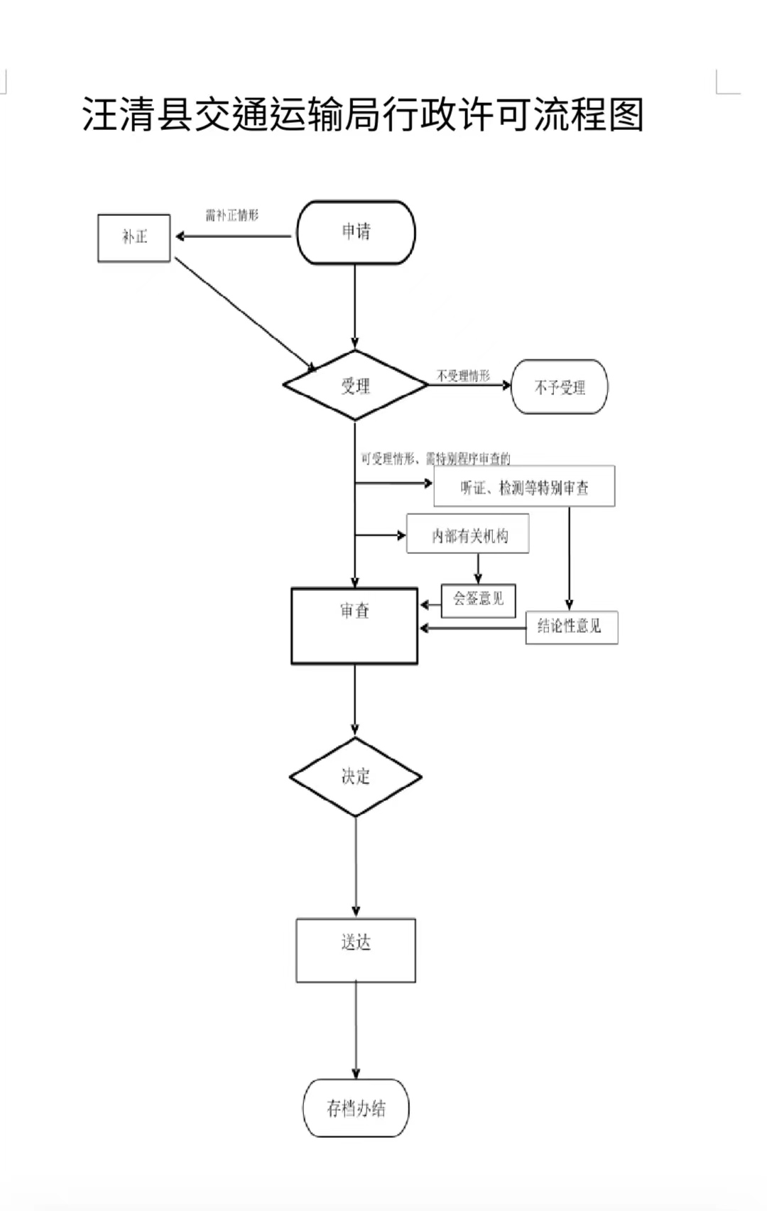
| 标 题: | 行政执法“四张流程图” |
| 发文字号: | 无 |
| 发布日期: | 2023年04月10日 |
| 索 引 号: | 11222424013619996K/2023-03377 | 分 类: | 行政处罚;行政法规、规章 ; 公告 |
| 发文机关: | 汪清县交通运输局 | 成文日期: | 2023年04月10日 |
| 标 题: | 行政执法“四张流程图” | ||
| 发文字号: | 无 | 发布日期: | 2023年04月10日 |
行政执法“四张流程图”




